欢迎访问陕西新时代生物转化检测有限公司官网!
陕西新时代生物转化检测有限公司一所综合性的卫生医药、相关健康等领域的技术服务机构
免费咨询热线:029-36383635

新闻资讯

News

食品生产许可证审查细则最新版!

发布时间:2025-03-04点击量:309

目录

图片
图片
图片

图片

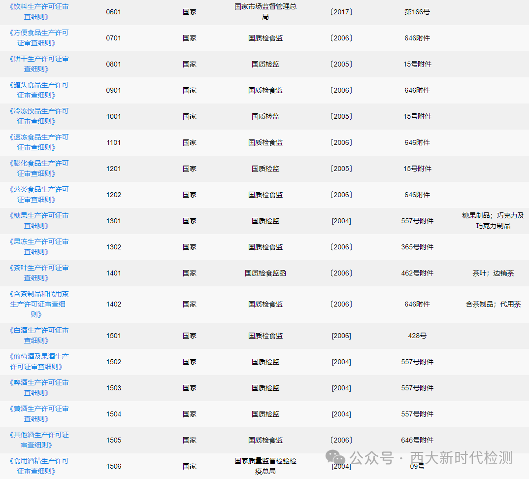
各类食品生产许可证审查细则详细文档

图片

有需要相关食品生产许可证审查细则的朋友,请添加微信:17389110562免费领取,添加请备注“行业+资料领取”


联系地址
地址:陕西省西咸新区泾河新城美国科技产业园A701号4层
联系方式
  • 联系电话:029-36383635
  • 联系邮箱:yb19840909@163.com
陕西新时代生物转化检测有限公司

扫一扫关注公众号

Copyright © 2024 陕西新时代生物转化检测有限公司 All Rights Reserved. 陕ICP备2024037229号

陕西新时代生物转化检测有限公司扫一扫咨询微信客服
服务热线

服务热线

029-36383635

微信客服
陕西新时代生物转化检测有限公司
微信客服
陕西新时代生物转化检测有限公司
返回顶部